1.Structure of ball mill bearings:
The outer ring of the special bearing for the mill conforms to the structural dimensions of the previous bearing bush (the outer ring adopts the overall structure). The ball mill bearing has two structures, namely, the inner ring has no rib (the bearing at the feed end) and the inner ring has a single rib plus a flat retainer (the discharge end). The fixed end bearing is the discharge end, and the sliding end bearing is at the feed end, which solves the problem of Thermal expansion caused by the production of the mill. The outer ring of the bearing has three central holes (positioning holes), and each hole has a 3-G2/1 oil filling hole. The ball mill bearing has undergone two high-temperature tempering cycles and will not deform within the range of – 40℃ to 200℃。
2.Compared to bearing pad grinding, bearing grinding has six major advantages:
(1) The ball mill bearing has changed from the past Sliding friction to the present rolling friction. The running resistance is small, and the starting resistance is significantly reduced, which can significantly save electric energy.
(2)Due to low running resistance and reduced frictional heat, as well as the use of special steel and unique heat treatment processes in bearing processing, the original cooling device has been eliminated, saving a large amount of cooling water.
(3) Changing the original thin oil lubrication to a small amount of lubricating grease and oil can save a large amount of thin oil. For large mills, the lubrication device for the hollow shaft has been removed to avoid the problem of burning tiles.
(4) Improved operational efficiency, saved maintenance costs, reduced maintenance time, and made maintenance more convenient. The two sets of bearings can be used for 5-10 years.
(5)The low starting resistance greatly extends the service life of equipment such as motors and reducers.
(6) The ball mill bearings have functions such as positioning, centering, axial expansion, etc., fully meeting the production and working conditions of the mill.
The use of ball mill dedicated bearings in ball mills not only saves electricity and is easy to maintain, but also brings considerable economic benefits to users, which has been widely recognized by users.
There are two lubrication methods for ball mill bearings:
(1)The bearing uses lubricating grease as the lubricating medium, which has the advantage of low fluidity, less leakage and oil shortage, and the formed oil film has good strength, which is more conducive to the sealing use of rolling bearings. At the same time, using grease lubrication for rolling bearings can also extend the lubrication maintenance time, making bearing maintenance simpler and more convenient.
When using lubricating grease, fill the inner cavity of the bearing before operation. After initial operation, observe and fill it every 3-5 days. After the bearing seat chamber is full, check it every 15 days (use 3 # lithium grease in summer, 2 # lithium grease in winter, and use Xhp-222 at high temperatures).
(2) Using oil lubrication for lubrication can achieve good cooling and cooling effects, especially suitable for working environments with high working temperatures. The viscosity of the lubricating oil used in rolling bearings is about 0.12 to 5px/s. If the load and operating temperature of the rolling bearing are high, high viscosity lubricating oil should be selected, while fast speed rolling bearings are suitable for low viscosity lubricating oil.
Since 2006, there have been Ф 1.5, Ф one point eight three Ф two point two Ф two point four Ф 2.6, Ф 3.0, Ф 3.2, Ф 3.5, Ф 3.6, Ф 3.8. Equipped for use on bearing grinding. The use effect is good so far. Save customers a considerable amount of maintenance and upkeep costs annually.
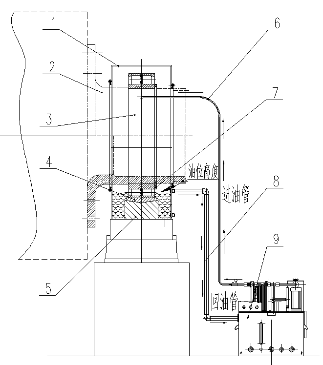
The lubrication method for the special bearings of the ball mill is shown in the figure (in the figure: 1. Upper shell of the bearing, 2. Hollow shaft of the mill, 3. Bearing, 4. Outer ring of the bearing, 5. Bearing seat). The lubricating oil pumped out of the lubricating oil station 9 is fed into the bearing through the oil inlet pipeline 6 through the oil hole on the outer ring of bearing 3, which not only lubricates the bearing balls but also takes away the heat and dust generated during the rolling of the bearing balls, The lubricating oil returns to the lubrication station 9 through the return pipeline 8, achieving the circulation of lubricating oil. To ensure that the failure of the lubricating oil station does not affect the normal lubrication of the bearing in the short term, the oil return port is opened higher than the lower ball of the bearing, ensuring that the oil level when the lubricating oil station stops working is not lower than half of the lower ball of the bearing, so that the ball that turns to the lower part can achieve effective lubrication.
Post time: Jun-16-2023